Macinatori monoalbero a cassetto spintore.
Sono macchine studiate per la macinazione di materiali con alto spessore ed elevata resistenza al taglio, come blocchi e lastre di plastica, legno di diverse essenze, carta, tubi in polimero estruso, ecc.
Un cassetto idraulico spinge il materiale contro il rullo porta utensili in rotazione che effettua la prerottura e la macinazione. In caso di carico eccessivo, il rotore e il cassetto invertono automaticamente il moto per rilasciare il materiale in presa ed evitare sovraccarichi strutturali. In uscita il prodotto è vagliato da una griglia forata che determina la dimensione finale del macinato.
| FROM | TO | |
| Rotor power KW | 11 | 110 |
| Hydraulic switchboard power KW | 0,75 | 7,5 |
| Rotor length mm | 400 | 2.000 |
| Rotating blades | 12 | 95 |
| Fixed blades | 1 | 2 |
| Sieve size mm | 14 | 60 |
| Weight Kg | 1.000 | 12.000 |
| Production Kg/hour | 80/150 | 3.500/5.000 |
| Safety equipment: emergency stop, shutdown button, electronic control. | ||
Funzionamento e caratteristiche del macinatore monoalbero
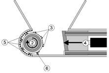
Un cassetto spintore ad azionamento idraulico (4) spinge il materiale verso un rullo (2) porta utensili (3) che, grazie alla sua rotazione ed all’azione di una controlama (6), effettua la prerottura e la macinazione del materiale.
Il prodotto è vagliato da una griglia forata che determina la dimensione finale del macinato.

Particolare del rullo (2) con gli utensili (3)
Fasi di lavoro

1. Fase d’inizio macinazione

2. Azione di spinta del cassetto idraulico sul rotore

3. Macinazione avanzata del materiale
NB: in caso di eccessivo sforzo, il cassetto è in grado d’invertire il moto per rilasciare il materiale in presa ed evitare sovraccarichi strutturali
RIDUTTORE ASSI PARALLELI
Il riduttore montato utilizzato per la serie ISVE MR è di tipo “pesante” per garantire l’impiego della macchina per lavorazioni molto gravose (blocchi di plastica caricati, polimeri tecnici, bobine di carta, roll di PET, essenze legnose di tutti i tipi, ecc.). Il gruppo riduttore è collegato a mezzo braccio di reazione all’ammortizzatore.
AMMORTIZZATORE PER RIDUTTORE
Durante la macinazione, la resistenza del materiale al taglio trasmette delle forti vibrazioni al riduttore. Tutte le nostre macchine sono dotate di “shock absorber” per garantire la massima affidabilità della trasmissione.
DOPPIA CONTROLAMA
Il gruppo di taglio è dotato di due controlame, una inferiore e una superiore (in figura). La presenza di due controlame consente di mantenere elevate produzioni con griglie con fori di diametro inferiore ai 20 mm.
Ciascuna lama è dotata di viti di regolazione per facilitare il posizionamento delle lame fisse.
ROTORE POLIVALENTE PER RICICLAGGIO
Il rotore monta delle placchette di elevato spessore quadrate (40X40 mm) a superficie concava, utilizzabili 4 volte. Il sistema di fissaggio prevede la testa della vite posta posteriormente alla superficie di taglio. Questo permette di smontare l’utensile facilmente evitando che il sistema di fissaggio si danneggi durante la macinazione.
GUIDE CASSETTO SPINTORE
Il cassetto spintore idraulico ha la funzione di avvicinare il materiale al rotore per promuoverne la macinazione. Il cassetto è mantenuto in guida dalle barre di scorrimento poste su tutti e 4 i lati. Delle bronzine regolabili garantiscono la massima pulizia delle piste di scorrimento.

SERIE “S” ISVE: WATCH THE DIFFERENCE!!!
HEAVY STRUCTURE
Il telaio e la carpenteria dei macinatori monoalbero ISVE sono realizzati con lamiere e tubolari di elevato spessore. Questo ne conferisce un’elevata resistenza alle sollecitazioni nelle lavorazioni più impegnative.
TOUCH PANEL
Il nuovo sistema di controllo per i macinatori serie “MR” (escluso mod. MR1740 e MR2260) è costituito da un PLC SIEMENS S7 – 1200. Per agevolare la programmazione ed il funzionamento del macinatore e delle periferiche associate, l’utente può utilizzare un comodo touch panel. Il sistema è stato studiato per essere d’immediata comprensione e facile utilizzo. Con un solo gesto si possono attivare nastri di carico, sistemi di raffinazione ed aspirazione. Il controllo può essere centralizzato ed automatizzato.
ISVE MAINTENANCE PROGRAM
Il sistema di controllo (escluso mod. MR1740 e MR2260) permette di segnalare all’operatore, a scadenza prefissata, gli interventi di manutenzione ordinaria.
AUTO TUNING PROGRAM
Oltre alla possibilità d’impostare 8 programmi differenti, la macchina dispone di una nuova funzione che autoregola i parametri di lavoro in funzione del materiale da macinare.
ISVE SERVER CONNECT
Con un modulo aggiuntivo, ciascuna macchina è predisposta per essere collegata on-line tramite la rete fissa aziendale o con scheda telefonica UMTS (previa verifica copertura). Con questo sistema, il funzionamento del macinatore viene monitorato direttamente dalla casa madre. Sono inoltre possibili aggiornamenti software e la regolazione dei parametri di funzionamento in remoto.
CAMERA INSIDE
Ciascuna macchina può essere dotata di una piccola telecamera posta in prossimità dell’area di taglio. Con “ISVE Server Connect” il video può essere visto anche in remoto.







